【场景】
1.因为疫情课程延期或其他原因,学员报读课程有效期需要支持修改。
2.为了方便老师集中查看和管理学员报读课程,需要相关数据没有汇总管理的地方
【需求描述】
1、新增报读列表:
可查看所有学员的报读记录,详细的有效期、课时消耗情况等等,同时可操作导出数据。
2、支持修改报读课程的课时有效期直接单个课时包修改

批量操作修改有效期

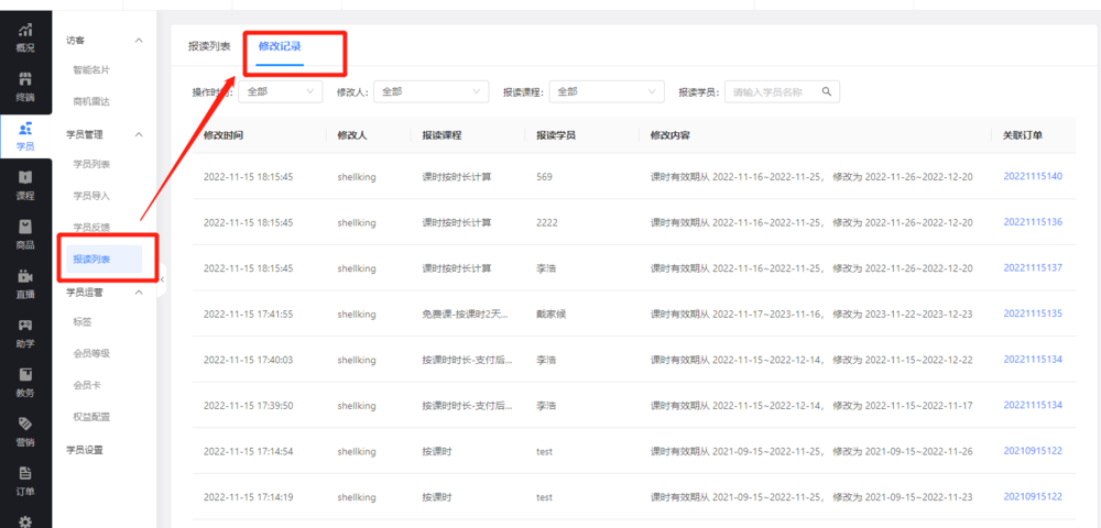
3、查看操作日志,方便追溯学员数据变更

【场景】
微信小程序不再支持获取用户微信头像昵称,无法通过微信信息分辨学员。
【需求描述】
对后台学员信息只显示微信信息的功能,统一改为显示:帐号、学员头像及名称。如下图已优惠券、推广员场景示例:
优惠券场景:

推广员场景:

【场景】当机构不需要使用密码注册登录功能时,学员端无需出现帐号和密码的设置入口
【需求描述】
当后台未开启帐号密码注册登录方式时,学员端不出现帐号设置入口

【场景】由于非微信环境下,没有识别提交者身份。当限制表单提交次数时,在非微信浏览器无法提交表单。
【需求描述】
表单设置限提交一次时,在不同终端和环境下,支持限填一次。具体限填规则如下:
1.已登录:同一个学员帐号
2.未登录,微信环境下:同一个微信号
3.未登录,且非微信环境下:同一个IP地址
【场景】由于非微信环境下,没有识别提交者身份。当限制表单提交次数时,在非微信浏览器无法提交表单。
【需求描述】
①H5端PC访问视图优化(解决PC浏览器下,H5页面排版错乱问题)
② 放宽专栏标题字数限制至100
③ 闯关打卡页视觉调整
